找回密码
 立即注册

恒生电子领投的某消费分期平台失联

2022-11-8 11:31| 发布者: 纸风车2| 查看: 55| 评论: 0

摘要:   原标题:独家:恒生电子(40.240,0.63,1.59%)领投的某消费分期平台失联  来源:开甲财经  开甲财经获悉,A股金融科技龙头恒生电子领投的消费分期平台乐百分上周末突然失联。与该公司合作的一家教育机构称,上 ...

  原标题:独家:恒生电子(40.240, 0.63, 1.59%)领投的某消费分期平台失联

  来源:开甲财经

  开甲财经获悉,A股金融科技龙头恒生电子领投的消费分期平台乐百分上周末突然失联。与该公司合作的一家教育机构称,上周五开始,乐百分不再打款,联系人不接电话,不回信息,其公司电话也无人接听,疑似失联。

  开甲财经扫码乐百分与其合作商的分期支付二维码,页面提示称“网站维护升级”,已经无法使用。

  乐百分一端连接银行信用卡,一端连接众多教育、舞蹈、医美机构,无论因何原因突然失联,都将拖累众多合作机构及C端客户。

  公开资料显示,乐百分为上海银骏科技有限公司旗下的互联网分期服务品牌,成立于2015年1月7日,总部位于中国上海自贸区,法定代表人为邹智,注册资本5938.22万元人民币。

  乐百分主要为商家提供信用卡用户的消费金融服务,平台通过用户信用卡授信额度做商户分期授信,再补充外部征信数据做风控,分期费率主要由商家承担。乐百分官网称,公司已经为过万家商户提供营销综合解决方案。

  乐百分披露信息显示,其合作机构包括通联商务、新大陆(14.050, -0.03, -0.21%)、盛付通、杉德支付、中国移动(66.550, 0.41, 0.62%)中国人保(4.910, -0.08, -1.60%)、医美内容平台美黛拉、汽车流通行业数字化运营服务商广联赛讯等。

  2017年8月,乐百分完成PreA轮融资8000万元,由恒生电子领投、合源资本和恒业基金跟投。

  企查查显示,上海银骏科技的实际控制人为刘世平,持股57.741%。恒生电子通过杭州星禄股权投资合伙企业(有限合伙)持有约5%股份。

  乐百分总裁为邹智,毕业于澳大利亚昆士兰科技大学,曾担任大型国企驻澳门地区首席技术负责人,在商业体的IT技术领域有多年经验,包括保安、风控和人力系统等IT领域。邹智持有上海银骏科技约7.17%股份。

  开甲财经注意到,乐百分实控人刘世平于2020年9月8日将股权质押给上海华瑞银行,出质股权数额为3023.69。

  此外,乐百分的投资人中还有一家保险系私募机构—北京合源融微股权投资中心(有限合伙),该私募成立于2015年6月,管理人为合源资本,LP包括昆仑健康保险、长城人寿保险、泰山财险、长安保险、百年人寿、东吴人寿、渤海财险等中小保险公司。

  开甲财经发现,恒生电子主导发起的杭州星禄股权投资合伙企业(有限合伙)将乐百分刘世平、邹智告上法庭,该案于2022年8月9日在浙江杭州滨江人民法院一审开庭。

  这可能意味着,双方因为投资问题发生矛盾,恒生电子最终采取法律手段维护自己的投资权益。

  2016年10月26日,恒生电子公告称,公司计划与宁波恒星汇股权投资合伙企业(有限合伙)共同发起设立杭州星禄股权投资合伙企业(有限合伙)。星禄投资的有限合伙人(LP)为恒生电子和恒星汇,其中恒生电子出资18000万元人 民币,恒星汇出资6000万元人民币。恒生电子的全资子公司杭州翌马投资管理有限公司为普通合伙人(GP),出资 100 万元人民币。公告称,星禄投资的主要投资标的是与实体产业密切结合的金融科技成长型企业,通过投资与恒生电子形成良性的互动和协同关系。

  恒生电子创立于1995年,最初以国债交易系统起家,后转战证券业务系统开发,先后推出证券交易管理系统、基金投资管理系统,2001年公司成立基金事业部,形成证券、银行、基金三足鼎立的业务布局,成为中国证券行业的IT龙头企业,市场占有率全国第一。大零售IT和大资管IT是恒生电子的主要业务线,合计贡献收入近七成2021年,恒生电子实现营业收入54.97亿元,归母净利润14.64亿元。目前恒生电子市值756亿元。

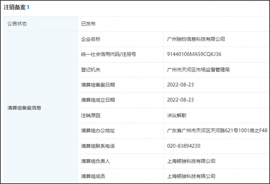
  开甲财经注意到,乐百分的出事似有先兆。过去2年,邹智名下的14家公司中,有11家被注销,其中包括广州骏钧信息科技有限公司。乐百分的合作商称,以往所有合作合同都是寄到乐百分位于广州的公司。但广州骏钧信息科技有限公司于2022年8月23日被决议解散,清算组负责人则是上海银骏科技。

海量资讯、精准解读,尽在新浪财经APP

责任编辑:宋源珺


路过

雷人

握手

鲜花

鸡蛋

最新评论

QQ|Archiver|手机版|小黑屋|雄启汇|雄启识慧云上智库:您身边的行业研究顾问 |网站地图

GMT+8, 2025-10-2 13:29 , Processed in 2.156126 second(s), 28 queries .

Powered by Discuz! X3.5

© 2001-2025 Discuz! Team.

返回顶部